大家好,然之协同管理系统3.5版本正式发布了。
该版本主要是完善细节,增强考勤功能。
一、修改记录
- 报销、请假、加班增加csv导出功能
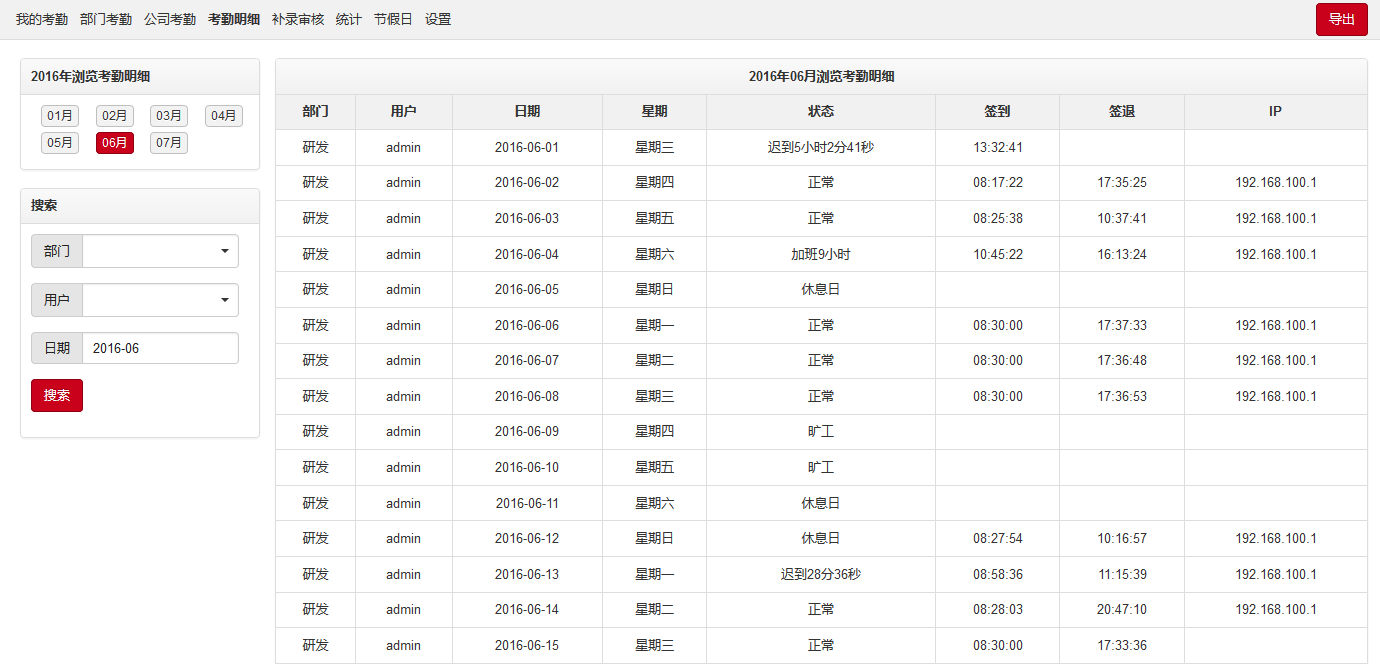
- 增加考勤明细浏览功能
- 增加导出考勤明细的功能
- 考勤如果设置必须签退,取消自动签退功能
- 考勤可以设置不考勤的人员名单
- 修改考勤统计
- 加班、请假支持一天记录多次
- 每天的请假时长不应大于工作工时
- 请假、加班、出差的时间不能重复
- 解决连续多天请假、出差时在考勤中显示请假、出差时间错误的问题
- 分页增加跳转到第几页
- 调整记账模块的功能
- 优化年度收支表
- 新增年度对比表
- 增加导出按照账号的收入盈亏表的功能
- 系统科目内置主营业务收入、非主营业务收入、主营业务成本、非主营业务成本
- 记账模块的搜索功能增加产品搜索,科目根据记账类型显示不同科目
- 客户搜索增加合作伙伴类型的筛选条件
- 合同按照销售分组的权限分开
- 我的地盘审核菜单增加权限判断
- 个人报销默认按照状态排序
二、下载地址
源码包: http://dl.cnezsoft.com/ranzhi/3.5/ranzhi.3.5.zip
windows一键安装包: http://dl.cnezsoft.com/ranzhi/3.5/ranzhi.3.5.exe
linux一键安装包32位: http://dl.cnezsoft.com/ranzhi/3.5/RanZhi.3.5.zbox_32.tar.gz
linux一键安装包64位: http://dl.cnezsoft.com/ranzhi/3.5/RanZhi.3.5.zbox_64.tar.gz
linux rpm安装包: http://dl.cnezsoft.com/ranzhi/3.5/ranzhi-3.5-1.noarch.rpm
linux deb安装包: http://dl.cnezsoft.com/ranzhi/3.5/ranzhi_3.5_1_all.deb
三、手册
安装文档: /book/zdoo/install.html
升级文档: /book/zdoo/7_zdooupgrade.html
四、新功能截图
浏览考勤明细
导出按照账号的收入盈亏表
年度对比表







