-
1. 关于ZDOO
- 1.1 关于ZDOO全协同办公系统
- 1.2 ZDOO主要功能列表
- 1.3 如何获得技术支持
- 1.4 ZDOO授权协议
- 1.5 ZDOO的版本说明
-
2. 安装升级
- 2.1 使用源码包安装ZDOO(各系统通用)
- 2.2 windows用一键安装包安装(推荐)
- 2.3 linux用一键安装包
- 2.4 宝塔面板安装ZDOO
- 2.5 渠成命令行安装 ZDOO基础版
- 2.6 如何升级ZDOO协同办公系统
- 2.7 旧版然之升级 ZDOO
- 2.8 使用ZDOO在线云办公管理服务
- 2.9 如何备份ZDOO
- 2.10 去掉ZDOO访问地址中的zdoo
- 2.11 安装ioncube扩展
- 2.12 安装php-zip扩展
- 2.13 CentOS7、CentOS8安装httpd,mariadb,php环境
-
3. 客户管理(crm)
- 3.1 客户管理的基本流程
- 3.2 添加一个产品
- 3.3 创建一个客户
- 3.4 开始一个订单
- 3.5 签署一个合同
- 3.6 联系人管理
- 3.7 名单管理
- 3.8 供应商管理
- 3.9 设置客户管理的基本信息
- 3.10 客户管理的基本统计报表
- 4. 日常办公(oa)
- 5. 项目管理(proj)
- 6. 文档管理(doc)
- 7. 现金记账(cash)
-
8. 团队分享(team)
- 8.1 为什么做团队分享模块?
- 8.2 维护基础的数据
- 8.3 团队模块功能介绍
-
9. 后台管理
- 9.1 后台的基础信息维护
- 9.2 添加成员和维护部门结构
- 9.3 分组权限管理
- 9.4 添加应用和应用权限管理
- 9.5 如何配置email发信
- 10. 应用导航(ips)
-
11. 定制开发
- 11.1 如何对ZDOO进行定制开发
- 11.2 ZDOO的目录结构
- 11.3 如何找到要修改的文件
- 11.4 数据库结构
任务的三种视图
- 2017-03-30 14:41:13
- 薛才杰
- 15770
- 最后编辑:李艳玲 于 2021-11-05 16:48:23
- 分享链接
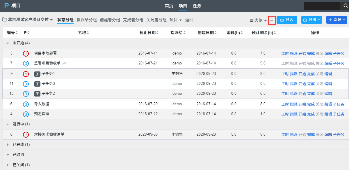
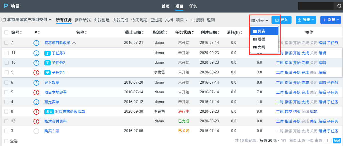
ZDOO的项目管理提供了三种视图来方便大家掌握任务的情况,这三种视图分别是:列表、看板和大纲。下面让我们来一一了解下。
一、列表视图
列表视图是默认视图,提供了表格式的浏览。可以通过检索标签快速的检索。
二、看板视图
看板视图为大家提供了比较直观的看板页面。
备注:
- 看板视图中的任务可以拖拽。比如将任务从”未开始“栏拖拽到”进行中“,相当于做了开始操作。
- 看板可以按照不同的字段进行分组。默认是按照状态进行分组。
三、大纲视图
大纲视图则给大家提供了另外一种视图方式。

相关功能视频请点击: http://www.zdoo.com/basic/project-121.html
发表评论







